| | Introduction |
| 10.0.1* | In Demonstration 10.0.1, the circuit formed by the pair of
resistors is replaced by the one shown in Fig. 10.0.1, composed of
four resistors of equal resistance R. The voltmeter might be the
oscilloscope shown in Fig. 10.0.1. The "grounded" node at (4) is
connected to the negative terminal of the voltmeter.
Figure P10.0.1
| (a) | Show that the voltage measured with the positive lead connected at (1), so that the
voltmeter is across one of the resistors, is v = (d
/dt)/4.
|
| (b) | Show that if the positive voltmeter lead is connected to
(2), then to (3), and finally to (4) (so that the lead is wrapped
around the core once and connected to the same grounded node as the
negative voltmeter lead), the voltages are, respectively, twice,
three times, and four times this value. Show that this last result is
as would be expected for a transformer with a one-turn secondary.
|
|
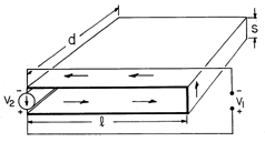
| 10.0.2 | Plane parallel perfectly conducting plates are shorted to form
the one-turn inductor shown in Fig. 10.0.2. The current source is
distributed so that it supplies i amps over the width d.
Figure P10.0.2
| (a) | Given that d and l are much greater than the spacing s, determine the
voltage measured across the terminals of the current source by the
voltmeter v2.
|
| (b) | What is the voltage measured by the voltmeter
v1 connected as shown in the figure across these same terminals?
|
|
| | Magnetoquasistatic Electric Fields in Systems of Perfect Conductors
|
| 10.1.1* | In Prob. 8.4.1, the magnetic field of a dipole surrounded by a
perfectly conducting spherical shell is found. Show that
in the region between the dipole and the shell.
|
| 10.1.2 | The one-turn inductor of Fig. P10.1.2 is driven at the left by a
current source that evenly distributes the surface current density
K(t) over the width w. The dimensions are such that g a
w.
| (a) | In terms of K(t), what is H between the plates?
|
| (b) | Determine a
particular solution having the form Ep = ix Exp (y,
t), and find E.
|
Figure P10.1.2
|
| 10.1.3 | The one-turn solenoid shown in cross-section in Fig. P10.1.3
consists of perfectly conducting sheets in the planes = 0,
= , and r = a.
The latter is broken at the middle and driven by
a current source of K(t) amps/unit length in the z direction. The
current circulates around the perfectly conducting path provided by
the sheets, as shown in the figure. Assume that the angle
and that the system is long enough in the z direction
to justify taking the fields as two dimensional.
| (a) | In terms of K(t), what is H in the pie-shaped region?
|
| (b) | What is E in this region?
|
Figure P10.1.3
Figure P10.1.4
|
| 10.1.4* | By constrast with previous examples and problems in this section,
consider here the induction of currents in materials that have
relatively low conductivity. An example would be the induction
heating of silicon in the manufacture of semiconductor devices. The
material in which the currents are to be induced takes the form of a
long circular cylinder of radius b. A long solenoid surrounding this
material has N turns, a length d that is much greater than its
radius, and a driving current i(t), as shown in Fig. P10.1.4.
Because the material to be heated has a small conductivity, the
induced currents are small and contribute a magnetic field that is
small compared to that imposed. Thus, the approach to determining the
distribution of current induced in the semiconductor is 1) to first
find H, ignoring the effect of the induced current. This amounts
to solving Ampère's law and the flux continuity law with the current
density that of the excitation coil. Then, 2) with B known, the
electric field in the semiconductor is determined using Faraday's law
and the MQS form of the conservation of charge law, (
E) = 0. The approach to finding the fields can then
be similar to that illustrated in this section.
|
| 10.1.5 | The configuration for this problem is the same as for Prob.
10.1.4 except that the slightly conducting material is now a cylinder
having a rectangular cross-section, as shown in Fig. P10.1.5. The
imposed field is therefore the same as before.
| (a) | In terms of the coordinates shown, find a particular solution for E that takes the
form E = iy Eyp(x, t) and satisfies the boundary
conditions at x = 0 and x = b.
|
| (b) | Determine E inside the material of
rectangular cross-section.
|
| (c) | Sketch the particular, homogeneous, and
total electric fields, making clear how the first two add up to satisfy
the boundary conditions. (Do not take the time to evaluate your
analytical formula but rather use your knowledge of the nature of the
solutions and the boundary conditions that they must satisfy.)
|
Figure P10.1.5
|
| | Nature of Fields Induced in Finite Conductors |
| 10.2.1* | The "Boomer" might be modeled as a transformer, with the disk as
the one-turn secondary terminated in its own resistance. We have found
here that if  m 1, then the flux linked by the secondary
is small. In Example 9.7.4, it was shown that operation of a
transformer in its "ideal" mode also implies that the flux linked by
the secondary be small. There it was found that to achieve this
condition, the time constant L22/R of the secondary must be long
compared to times of interest. Approximate the inductance and
resistance of the disk in Fig. 10.2.3 and show that L22/R is
indeed roughly the same as the time given by (10.2.17).
|
| 10.2.2 | It is proposed that the healing of bone fractures can be promoted
by the passage of current through the bone normal to the fracture.
Using magnetic induction, a transient current can be induced without
physical contact with the patient. Suppose a nonunion of the radius
(a nonhealing fracture in the long bone of the forearm, as shown in
Fig. P10.2.2) is to be treated. How would you arrange a driving coil
so as to induce a longitudinal current along the bone axis through the
fracture?
Figure P10.2.2
|
| 10.2.3* | Suppose that a driving coil like that shown in Fig. 10.2.2 is
used to produce a magnetic flux through a conductor having the shape
of the circular cylindrical shell shown in Fig. 10.3.2. The shell has
a thickness and radius a. Following steps parallel to those
represented by (10.2.13)-(10.2.16), show that Hind/H1 is
roughly  m, where m is given by (10.3.10).
(Assume that the applied field is essentially uniform over the
dimensions of the shell.)
|
| | Diffusion of Axial Magnetic Fields through Thin Conductors |
| 10.3.1* | A metal conductor having thickness and conductivity
is formed into a cylinder having a square cross-section, as shown in
Fig. P10.3.1. It is very long compared to its cross-sectional
dimensions a. When t = 0, there is a surface current density Ko
circulating uniformly around the shell. Show that the subsequent
surface current density is K(t) = Ko exp (-t/ m) where m
= o  a/4.
Figure P10.3.1
|
| 10.3.2 | The conducting sheet of thickness shown in cross-section by
Fig. P10.3.2 forms a one-turn solenoid having length l that is
large compared to the length d of two of the sides of its
right-triangular cross-section. When t = 0, there is a circulating
current density Jo uniformly distributed in the conductor.
| (a) | Determine the surface current density K(t) = J(t) for t > 0.
|
| (b) | A
high-impedance voltmeter is connected as shown between the lower right
and upper left corners. What v(t) is measured?
|
| (c) | Now lead (1) is
connected following path (2). What voltage is measured?
|
Figure P10.3.2
|
| 10.3.3* | A system of two concentric shells, as shown in Fig. 10.5.2
without the center shell, is driven by the external field Ho (t).
The outer and inner shells have thicknesses and radii a and b,
respectively.
|
| 10.3.4 | The -shaped perfect conductor shown in Fig. P10.3.4 is
driven along its left edge by a current source having the uniformly
distributed density Ko (t). At x = -a there is a thin sheet having
the nonuniform conductivity = o /[1 + cos ( y/b)].
The length in the z direction is much greater than the other
dimensions.
| (a) | Given Ko (t), find a differential equation for K(t).
|
| (b) | In terms of the solution K(t) to this equation, determine
E in the region -a < x < 0, 0 < y < b.
|
Figure P10.3.4
|
| | Diffusion of Transverse Magnetic Fields through Thin Conductors |
| 10.4.1* | A thin planar sheet having conductivity and thickness
extends to infinity in the x and z directions, as shown in Fig.
P10.4.1. Currents in the sheet are z directed and independent of z.
Figure P10.4.1
|
| 10.4.2 | In the two-dimensional system shown in cross-section by Fig.
P10.4.2, a planar air gap of width d is bounded from above in the
surface y = d by a thin conducting sheet having conductivity and
thickness . This sheet is, in turn, backed by a material of
infinite permeability. The region below is also infinitely permeable
and at the interface y = 0 there is a winding used to impose the surface
current density K = K(t) cos x iz. The system extends to
infinity in the x and z directions.
| (a) | The surface current density K(t) varies so rapidly that the conducting sheet acts as a
perfect conductor. What is in the air gap?
|
| (b) | The current is
slowly varying so that the sheet supports little induced current.
What is in the air gap?
|
| (c) | Determine (x, y, t) if there is
initially no magnetic field and a step, K = Ko u-1(t), is
applied. Show that the early and long-time response matches that
expected from parts (a) and (b).
|
Figure P10.4.2
|
| 10.4.3* | The cross-section of a spherical shell having conductivity
, radius R and thickness is as shown in Fig. 8.4.5. A
magnetic field that is uniform and z directed at infinity is
imposed.
|
| 10.4.4 | A magnetic dipole, having moment i(t)a (as defined in Example
8.3.2) oriented in the z direction is at the center of a spherical
shell having radius R, thickness , and conductivity , as
shown in Fig. P10.4.4. With i = Re { exp (j t)},
the system is in the sinusoidal steady state.
| (a) | In terms of i(t)a, what is in the neighborhood of the origin?
|
| (b) | Given that the shell is perfectly
conducting, find . Make a sketch of H for this limit.
|
| (c) | Now, with finite, determine .
|
| (d) | Take the appropriate limit
of the fields found in (c) to recover the result of (b). In terms of
the parameters that have been specified, under what conditions does
the shell behave as though it had infinite conductivity?
|
Figure P10.4.5
|
| 10.4.5* | In the system shown in cross-section in Fig. P10.4.5, a thin
sheet of conductor, having thickness and conductivity , is
wrapped around a circular cylinder having infinite permeability and
radius b. On the other side of an air gap at the radius r = a is a
winding, used to impose the surface current density K = K(t) sin
2 iz, backed by an infinitely permeable
material in the region a < r.
|
| 10.4.6 | The configuration is as described in Prob. 10.4.5 except that the
conducting shell is on the outside of the air gap at r = a, while
the windings are on the inside surface of the air gap at r = b.
Also, the windings are now arranged so that the imposed surface
current density is K = Ko (t) sin . For this
configuration, carry out parts (a), (b), and (c) of Prob. 10.4.5.
|
| | Magnetic Diffusion Laws |
| 10.5.1* | Consider a class of problems that are analogous to those
described by (10.5.10) and (10.5.11), but with J rather than
H written as a solution to the diffusion equation.
| (a) | Use (10.5.1)-(10.5.5) to show that for a uniform conductivity 
|
| (b) | Now consider J (rather than H) to be z directed but
independent of z, J = Jz (x, y, t) iz, and H (rather than
J) to be transverse, H = Hx (x, y, t) ix + Hy (x, y, t)
iy. Show that
where H can be found from J using
Note that these expressions are of the same form as (10.5.8),
(10.5.10), and (10.5.11), respectively, but with the roles of J
and H reversed.
|
|
| | Magnetic Diffusion Step Response |
| 10.6.1* | In the configuration of Fig. 10.6.1, a steady state has been
established with Ks = Kp = constant. When t = 0,
this driving
current is suddenly turned off. Show that H and J are given
by (10.6.21) and (10.6.22) with the first term in each omitted and
the sign of the summation in each reversed.
|
| 10.6.2 | Consider the configuration of Fig. 10.6.1 but with a perfectly
conducting electrode in the plane x = 0 "shorting" the electrode
at y = 0 to the one at y = a.
| (a) | A steady driving current has been established with Ks = Kp = constant. What are the steady H
and J in the conducting block?
|
| (b) | When t = 0, the driving current is suddenly
turned off. Determine H and J for t > 0.
|
|
| | Skin Effect |
| 10.7.1* | For Example 10.7.1, the conducting block has length d in the z
direction.
|
| 10.7.2 | In the configuration of Example 10.7.1, the perfectly conducting
electrodes are terminated by a perfectly conducting electrode in the
plane x = 0.
| (a) | Determine the sinusoidal steady state response H. |
| (b) | Show that even though the current source is now "showed" by perfectly conducting electrodes, the high-frequency field distribution is still given by (10.7.16), so that in this limit, the current still concentrates at the surface. |
| (c) | Determine the impedance of a length d (in the z direction) of the block. |
|